Self Studies

Theory of Machines Test 2

Result Self Studies

Theory of Machines Test 2
  • Score

    -

    out of -
  • Rank

    -

    out of -
TIME Taken - -
Self Studies
Weekly Quiz Competition
  • Question 1
    2 / -0.33
    In a four-bar mechanism, the lengths of driver crank, coupler and follower link are 150 mm, 250 mm and 300 mm respectively. The fixed link length is L0. Find the values of Lo so as to make it crank-crank mechanism.
    Solution

    Concept:

    According to Grashof’s Law:

    (1) S + L ≤ P + Q (Class I mechanism)

    There will be at least one complete revolution between the two links.

    • If shortest link is fixed: Double Crank Mechanism
    • If any of the adjacent link of the shortest link if fixed: Crank rocker mechanism
    • If the link opposite to shortest link is fixed: Double Rocker Mechanism

    (2) S + L > P + Q (Class II mechanism)

    • Only double rocker mechanism is possible.

    Calculation:

    For crank-crank mechanism, the condition to be satisfied are

    (i) Shortest link must be fixed i.e. Lo is shortest link.

    (ii) S + L ≤ P + Q

    Lo + 300 ≤ 250 + 150

    Lo ≤ 100 mm
  • Question 2
    2 / -0.33

    The number degrees of freedom of a planar linkage with 8 links and 9 simple revolute joints is

    Solution

  • Question 3
    2 / -0.33

    Match the approaches given below to perform stated kinematics/dynamics analysis of machine.

    Solution

    1. Dynamic-static analysis → D` Alembert‘s principal
    2. Mobility (for plane mechanism) → Grubler’s criterion
    3. Continuous relative rotation → Grashoff’s law
    4. Velocity and acceleratio → Kennedy’s theorem

  • Question 4
    2 / -0.33
    A flywheel is fitted to engine has a mass of 400kg and radius of gyration 0.2m. If initially engine is at rest and starting torque of engine is 400Nm. What is kinetic energy (kJ) of flywheel after 10 seconds?
    Solution

    Concept:

    T = Iα

    ω2 = ω1 + αt

    Calculation:

    I = mk2 = 400 × (0.2)2 = 16 kg.m2

    T = 400 N.m

    T = Iα

    \(\alpha = \frac{{400}}{{16}}\)

    α = 25 rad/s2  

    ∴ ω2 = ω1 + αt

    As ω1 = 0, t = 10

    ∴ ω2 = αt = 25 × 10

    ∴ ω2 = 250 rad/s

    \({\left( {KE} \right)_{t = 10}} = \frac{1}{2}I\omega _2^2\)

    \({\left( {KE} \right)_{t = 10}} = \frac{1}{2}\left( {16} \right) \times {\left( {250} \right)^2}\)

    ∴ (KE) (t=10) = 500 kJ

  • Question 5
    2 / -0.33
    If angle of obliquity of pair of gear wheels is 18˚. What is minimum number of teeth on pinion if arc of approach or recess not less than the pitch?
    Solution

    Concept:

    Maximum arc of approach of pinion,

    \({\rm{Max\;arc\;of\;approach}} = {\rm{}}\frac{{Max\;Path\;of\;contact}}{{Cos\;\emptyset }}\;\)

    \({\rm{Max\;arc\;of\;approach}} = \frac{{{r_p}sin\emptyset }}{{cos\emptyset }}\)

     Max arc of approach = rp tanθ

    Where, rp = radius of pinion

    Given condition,

    \({\rm{Arc\;of\;approach\;}} = {\rm{\;}}\frac{{\pi {d_p}}}{{{Z_p}}}\)

    \({r_p}\tan \emptyset \ge \frac{{2\pi {r_p}}}{{{Z_p}}}\)

    \({Z_p} \ge \frac{{2\pi }}{{tan\emptyset }}\)

    For ∅ = 18°

    \({Z_p} \ge \frac{{2\pi }}{{tan18^\circ }}\)

     Zp ≥ 19.32

    Zp = 20 

  • Question 6
    2 / -0.33
    Two 20° pressure angle involute gears in mesh have a module of 10 mm. The larger has 50 teeth and the pinion has 13 teeth. The centre distance between them is
    Solution

    Concept:

    \({\rm{Centre\;distance}} = \frac{{D + d}}{2}\)

    D = Diameter of Gear, d = diameter of pinion

    Calculation:

    Given:

    ZG = 50 (Number of teeth on gear), ZP = 13 (Number of teeth on pinion), m = 10 mm

    We know

    \(m = \frac{D}{Z}\; - - - \;\left( 1 \right)\)

    Now,

    For gear

    D = mZG = 10 × 50 = 500 mm

    For pinion

    d= mZP = 10 × 13 = 130 mm

    \({\rm{Centre\;distance}} = \frac{{D + d}}{2} = \frac{{500 + 130}}{2}\)

    Centre distance = 315 mm

  • Question 7
    2 / -0.33
    The controlling force in a spring controlled governor is 1500 N when the radius of rotation of the balls is 200mm and 887.5 N when it is 130 mm the mass of each ball is 8 kg by changing the initial tension the governor behaves as isochronous governor. Then
    Solution

    Explanation:

    Given:

    F = ar + b

    1500 = 200a + b

    887.5 = 130a + b

    ⇒ a = 8.75 N/mm

    ⇒ b = - 250 N

    Now,

    For isochronous governor, b = 0

    F = mrω2 = ar

    ∴ a = mω2

    8.75 × 1000 = 8ω2

    ω = 33.07 rad/s

    \(\therefore \omega = \frac{{2\pi N}}{{60}}\)

    ∴ N = 315.8 rpm

  • Question 8
    2 / -0.33

    Identify lower pairs. Select the most appropriate answer.

    Solution

    Kinematic pairs are classified under three headings namely, lower pair, higher pair and wrapping pair.

    Lower Pair: 

    A pair is said to be a lower pair when the connection between two elements is through the area of contact. Some of the types of Lower pair are:

    • Revolute Pair
    • Prismatic Pair
    • Screw Pair
    • Cylindrical Pair
    • Planar Pair

    Higher Pair: 

    A pair is said to be higher pair when the connection between two elements has only a point or line of contact. Examples of higher pairs are:

    • A point contact takes place when spheres rest on plane or curved surfaces (in case of ball bearings).
    • Contact between teeth of a skew-helical gears.
    • Contact made by roller bearings
    • Contact between teeth of most of the gears.
    • Contact between cam-follower
    • Spherical Pair.

    Wrapping Pairs:

    In a higher pair, the contact between the two bodies has only a line contact or a point contact. Whereas in a wrapping pair, one body completely wraps over the other. The typical example is of a belt and a pulley or a chain and a sprocket where the belt completely wraps around the pulley or the chain completely wraps around the sp.

  • Question 9
    2 / -0.33

    Mechanism which has more than four links is:

    Solution

    Mechanism: A mechanism is a set of machine elements or components or parts arranged in a specific order to produce a specified motion.

    When one of the links of a kinematic chain is fixed, the chain is called a mechanism.

    Mechanisms are of the following types:

    Simple mechanism

    • This is a mechanism which has four links.

    Compound mechanism

    • This is a mechanism which has more than four links.

    Complex mechanism

    • This is formed by the inclusion of ternary or higher-order floating link to a simple mechanism.

    Planar mechanism

    • This is formed when all the links of the mechanism lie in the same plane.

    Spatial mechanism

    • This is formed when all the links of the mechanism lie in the different plane.

    Equivalent mechanism

    • Turning pairs of plane mechanisms may be replaced by other types of pairs such as sliding pairs or cam pairs. The new mechanism thus obtained having the same number of degrees of freedom as the original mechanism is called the equivalent mechanism.
  • Question 10
    2 / -0.33
    The moment of inertia an airplane air screw is 20 kg.m2 and the speed of rotation is 1000 rpm clockwise when viewed from the front. The speed of the flight is 200 km per hour. Find the gyroscopic acceleration (rad2/sec2) of the air screw on the airplane when it makes a left-handed turn on a path of 150 m radius 
    Solution

    Explanation:

    Given:

    Ip = 20 kg – m2

    \({\omega _s} = \frac{{2\pi \times 1000}}{{60}} = 104.67\;rad/sec\;\)

    \({\omega _p} = \frac{V}{r} = \frac{{200 \times 1000}}{{3600 \times 150}} = 0.37\;rad/sec\)

    Now,

    Gyroscopic acceleration = ωs × ωp

    ∴ Gyroscopic acceleration = 104.67 × 0.37

    Gyroscopic acceleration = 38.7279 rad2/sec2

  • Question 11
    2 / -0.33

    Which of the following statements is incorrect

    Solution

    It should be lesser or equal, i.e. S + L ≤ P + Q (where S and L are length of shortest and longest link, respectively).

  • Question 12
    2 / -0.33

    The number of inversions for a slider crank mechanism is

    Solution
    • If one of the links is fixed in a kinematic chain, it is called a mechanism.
    • So, we can obtain as many mechanisms as the number of links (n inversions from a kinematic chain having ‘n’ number of links) in a kinematic chain.
    • A slider-crank is a kinematic chain having four links so four inversions.
    • It has one sliding pair and three turning pairs.
    • Link 1 is a frame (fixed).
    • Link 2 has rotary motion and is called a crank.
    • Link 3 has got combined rotary and reciprocating motion and is called a connecting rod.
    • Link 4 has reciprocating motion and is called a slider.
    • This mechanism is used to convert rotary motion to reciprocating and vice versa.

    Inversions of the slider-crank mechanism are obtained by fixing links 1, 2, 3, and 4.

    • First inversion: This inversion is obtained when link 1 (ground body) is fixed.
      Application-  Reciprocating engine, reciprocating compressor, etc.
    • Second inversion: This inversion is obtained when link 2 (crank) is fixed.
      Application- Whitworth quick returns mechanism, Rotary engine, etc.
    • Third inversion: This inversion is obtained when link 3 (connecting rod) is fixed.
      Application - Slotted crank mechanism, Oscillatory engine, etc.
    • Fourth inversion: This inversion is obtained when link 4 (slider) is fixed.
      Application- A hand pump, pendulum pump or Bull engine, etc.
  • Question 13
    2 / -0.33

    A simple quick return mechanism is shown in the figure. The forward to return ratio of the quick return mechanism is 2: 1. If the radius of the crank O1P is 125 mm, then the distance 'd' (in mm) between the crank centre to lever pivot centre point should be

    Solution

  • Question 14
    2 / -0.33
    The turbine rotor of a ship has a mass of 8 tonnes and a radius of gyration 0.6 m. It rotates at 1800 rpm clockwise, when looking from the stern. Determine the gyroscopic couple (in kN-m) if the ship travels at 100 km/hr and steer to the left in a curve of 80 m radius.
    Solution

    Concept: 

    Gyroscopic couple C = Iωωp

    Calculation:

    Given:

    Radius of gyration (k) = 0.6 m, v = 100 km/hr, N = 1800 rpm, Radius (R) = 80 m, mass (m) = 8 tonnes 

    Now,

    \(\omega = \frac{{2\pi N}}{{60}} = \frac{{2\pi × 1800}}{{60}} = 188.5\;rad/s\)

    Now,

    Mass moment of inertia of rotor:

    I = mk2 = 8000 × (0.6)2 = 2880 kg-m2

    Angular velocity of precession:

    \({\omega _p} = \frac{V}{R} = \frac{{100 × \frac{{1000}}{{3600}}}}{{80}} = \frac{{500}}{{1440}} = 0.3472\;rad/s\)

    Gyroscopic couple (C) = Iωωp 

    C = 2800 × 188.5 × 0.3472

    C = 188500 Nm

    ∴ C = 188.5 kN-m

  • Question 15
    2 / -0.33

    In a four-bar linkage, S denotes the shortest link length, L is the longest link length, P and Q are the lengths of other two links. At least one of the three moving links will rotate by 360° if

    Solution

    According to Grashoff’s Law for a four bar mechanism, the sum of shortest and longest link lengths should not be greater than the sum of the remaining two link length.

    i.e. S + L ≤ P + Q

  • Question 16
    2 / -0.33

    The lengths of the links of a 4-bar linkage with revolute pairs only are p, q, r, and s Given that p < q < r < s. Which of these links should be the fixed one, for obtaining a “double crank” mechanism?

    Solution

    For Double crank mechanism Shortest link is fixed.Here shortest link is ‘P’.

  • Question 17
    2 / -0.33
    A machine tool requires a torque of 100 + 20 sin θ N-m of torque, where θ is the crank angle. The power is supplied by an electric motor at uniform rate. A flywheel with a moment of inertia of 20 kg-m2 is attached. The maximum acceleration of the flywheel and the corresponding crank position is
    Solution

    Explanation:

    T = 100 + 20 sinθ

    \({T_{mean}} = \frac{1}{{2\pi }}\mathop \smallint \nolimits_0^{2\;\pi } (100 + 20\sin \theta )d\theta = 100N.m\)

    Now,

    Change in Torque (ΔT) = Torque developed by engine – Torque required by machine

    Change in Torque (ΔT)  = 100 – (100 + 20 sinθ)

    Change in Torque (ΔT) = - 20 sinθ

    Now,

    To get (ΔT)max,

    \(\frac{d}{{d\theta }}( - 20\sin \theta ) = 0\)

    ⇒ - 20 cos θ = 0 ⇒ θ = 90 or 270

    (ΔT)max = -20 × sin 270

    (ΔT)max = 20 N.m

    Now,

    (ΔT)max = I αmax

    ⇒ 20 = 20 × αmax

    αmax = 1 rad/s2 at 270° 

  • Question 18
    2 / -0.33

    Choose the option which does NOT belong to the category of simple machine:

    Solution
    • A machine is a tool containing one or more parts that use energy to perform an intended action.
    • A simple machine is a device that simply transforms the direction or magnitude of a force, but a large number of more complex machines exist.
    • Examples include Levers, Screw Jack, Wheel and axle, Pulleys, Wedge, Inclined plane, etc.
    • Spring stores and releases energy. it neither’s changed direction or magnitude of the force. To qualify as a simple machine, a device must exchange the magnitude of a Force.
  • Question 19
    2 / -0.33

    Two wires AO and BO support a vertical load W at O as shown in the figure below. The wires are of equal length and equal cross sectional area. The tension in each wire is equal to

    Solution

  • Question 20
    2 / -0.33
    In a gear box, two meshing gears (Gear and pinion) of involute profile have a module of 5 mm with pressure angle ϕ =20° and a Gear ratio of 3. The number of teeth on Gear is 60 and take addendum as one module. At the end of engagement, if the pinion is rotating with a speed of 20 rad/s, the sliding velocity is
    Solution

    Concept:

    Sliding velocity is the velocity of one tooth relative to its mating tooth along the common tangent at the point of contact. It is given by

    VS = (ω1 + ω2) PC

    Where PC is the distance between pitch point and the point of contact.

    At the end of engagement, the distance between the pitch point and point of contact will be Path of recess.

    \(PC = \sqrt {r_a^2 - {r^2}{{\cos }^2}\phi } - r\sin \phi \)

    Calculation:

    Given:

    m = 5 mm, T = 60, G.R = 3, ωP = 20 rad/s, ϕ = 20°, addendum = W = 1m = 5 mm,

    From the given,

    R = m T/2 = 5 × 60 /2= 300/2=150 mm;

    G.R = T/t ⇒ t = 20

    r = m t /2 = 5 × 20/2 = 100/2 =50 mm;

    ra = r + W = 50 + 5 = 55 mm;

    ωG = ωP/G.R = 20/3 rad/s;

    \(PC = \sqrt {{{55}^2} - {{50}^2}{{\cos }^2}20} - 50\sin 20 = 11.49\;mm\)

    Now,

    Sliding velocity = (20 + 6.67) × 11.49 = 306.7 mm/s

    Sliding velocity = 30.7 cm/s 

  • Question 21
    2 / -0.33

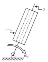
    For the planar mechanism shown in figure select the most appropriate choice for the motion of link 2 when link 4 is moved upwards.

    Solution
    • When link 4 is moved upwards, it will push link 3 upwards but since link 3&4 are joined by a revolute joint, the link will have to rotate in anticlockwise direction to move upwards.
    • Since link 2&3 are joined, link 2 will show the same motion as link 3. So link will rotate in counter clockwise direction.
  • Question 22
    2 / -0.33

    Instantaneous center of a body rolling with sliding on a stationary curved surface lies:

    Solution
    • This is a case of rolling with sliding on a stationary curved surface, so the instantaneous centre of the body will lie on the common normal at the point of contact, it means line joining two extreme cases.

    Important Points

    • Instantaneous centre of a body rolling without sliding on a stationary curved surface will lie at the point of contact surface.
    • Instantaneous centre of a body in case of pure sliding on a stationary curved surface at the point where it is centred at the curved surface.
  • Question 23
    2 / -0.33

    The figure below shows a planar mechanism with single degree of freedom. The instant centre 24 for the given configuration is located at a position

    Solution

  • Question 24
    2 / -0.33

    In the figure shown, the relative velocity of link 1 with respect to link 2 is 12 m/sec. Link 2 rotates at a constant speed of 120 rpm. The magnitude of Carioles component of acceleration of link 1 is

    Solution

  • Question 25
    2 / -0.33

    The Carioles component of acceleration is present

    Solution

    When a point on one link is sliding along another rotating link, such as in quick return motion mechanism, then the coriolis component of the acceleration must be calculated. Quick return motion mechanism is used in shaping machines, slotting machines and in rotary internal combustion engines.

Self Studies
User
Question Analysis
  • Correct -

  • Wrong -

  • Skipped -

My Perfomance
  • Score

    -

    out of -
  • Rank

    -

    out of -
Re-Attempt Weekly Quiz Competition
Self Studies Get latest Exam Updates
& Study Material Alerts!
No, Thanks
Self Studies
Click on Allow to receive notifications
Allow Notification
Self Studies
Self Studies Self Studies
To enable notifications follow this 2 steps:
  • First Click on Secure Icon Self Studies
  • Second click on the toggle icon
Allow Notification
Get latest Exam Updates & FREE Study Material Alerts!
Self Studies ×
Open Now